快科技6月20日消息,企查查APP显示,哪吒汽车关联公司即合众新能源汽车股份有限公司被申请破产一案更新,6月19日新增破产案件。
管理人机构为浙江子城律师事务所,经办法院为浙江省嘉兴市中级人民法院。

此外,该公司本月以来新增4条股权冻结信息,其所持哪吒新能源汽车制造有限公司10亿股权、桐乡合众汽车销售有限公司1000万股权等被冻结。

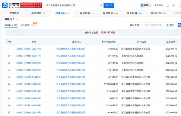
企查查APP显示,哪吒汽车当前被执行金额超1.58亿元,名下涉及30余条限制高消费信息。
今年5月因实施了经责令改正拒不改正的行为,违反了《劳动保障监察条例》第六条规定累计被罚3.30万元。

此前报道称,哪吒汽车员工称收到居家办公通知,哪吒员工表示,因为薪酬问题,已经两个月没去公司上班了。
作为新势力车企的代表之一,哪吒汽车曾一度风光无两,2022年凭借超过15万辆的交付量,成功登顶造车新势力销量冠军宝座。
而到了2024年,其全年销量仅6.45万辆,同比上一年直接腰斩。同年被曝拖欠供应商货款与员工薪资,再到如今被申请破产,大厦坍塌之快出乎意料。

原创文章,作者:admin,如若转载,请注明出处:http://www.kandianxun.com/nrse/28560.html